HOOP22/202
Chopping up your Cafe Racer subframe? This Cafe Racer Hoop will finish the job! Hoop Hoop Hooray! The unique thing is, it's 500mm in length, so you can cut it down to the exact size you need!
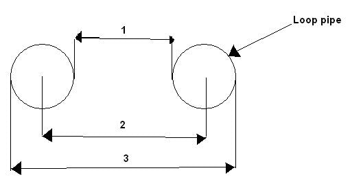
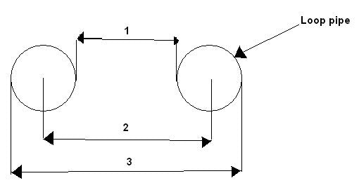
Dimensions :
1= approx 158mm
2= approx 180mm
3= approx 202mm
Even longer is also available, on request.

