HOOP25/230
Chopping up your Cafe Racer subframe? This Cafe Racer Hoop will finish the job! Hoop Hoop Hooray! The unique thing is, it's 500mm in length!
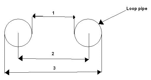
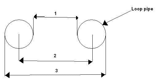
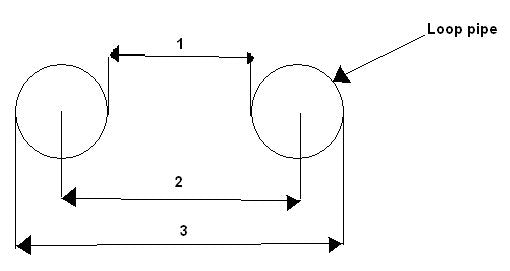
Dimensions :
1= approx 180mm
2= approx 205mm
3= approx 230mm
Even longer is also available, on request.


