HOOP25/264
Chopping up your Cafe Racer subframe? This Cafe Racer Hoop will finish the job! Hoop Hoop Hooray!
MADE IN HOUSE TO FIT TRIUMPH 2002-2015
LEATHER SEATS AND/OR ALU SEAT PANS ALSO AVAILABLE
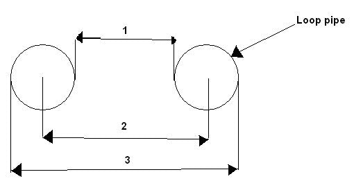
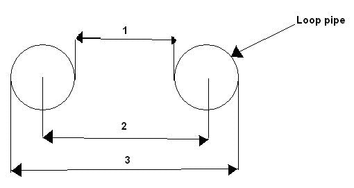
Dimensions :
1= approx 180mm
2= approx 205mm
3= approx 230mm
Longer in length is also available, on request.

