HOOP22/220

Chopping up your Cafe Racer subframe? This Cafe Racer Hoop will finish the job! Hoop Hoop Hooray! The unique thing is, it's 500mm in length!
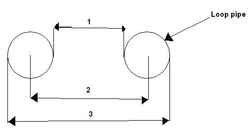
Dimensions :
1= approx 176mm
2= approx 198mm
3= approx 220mm
Even longer is also available, on request.

