Your Cart is Empty
Tax included and shipping calculated at checkout
Rogue Motorcycles
21-0004
Please notify me when {{ product }} becomes available - {{ url }}:
Notify me when this product is available:
Chopping up your Cafe Racer subframe? This 22mm (7/8") Cafe Racer Hoop will finish the job! Hoop Hoop Hooray !!
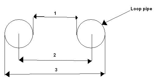
Dimensions :
1= approx 118 mm2= approx 140 mm3= approx 162 mm